ул.Симферопольская
дом 5, офис 9
Корзина
Корзина пуста
Выключатели нагрузки. Вна расшифровка
Выключатель нагрузки автогазовый ВНА
Выключатели ВНА применяются в шкафах комплектных распределительных устройств (КРУ), комплектных трансформаторных подстанций (КТП) внутренней установки и камерах стационарных одностороннего обслуживания (КСО).
Расшифровка условного обозначения выключателя нагрузки:
ВНА (П)(Л)-10/630(400)-20- X- Х ХХ
| В | Выключатель |
| Н | Нагрузки |
| А | Автогазовый |
| П | с правосторонним приводом ПРБД |
| Л | с левосторонним приводом ПРБД |
| 10 | Номинальное напряжение: кВ |
| 630 | Номинальный ток: 400, 630 А |
| 20 | Номинальная периодическая составляющая сквозного тока; кА |
| Iз | заземляющие ножи со стороны разъемных контактов; |
| IIз | заземляющие ножи со стороны шарнирных контактов; |
| IIIз | заземляющие ножи с двух cторон; |
| Пт(..) | со встроенными контактами для патронов типа: ПТ1.1; ПТ1.2; ПТ.1.3; ПКТ-VK; |
| - | при отсутствии встроенных элементов обозначение не ставится; |
| У2 | климатичесое исполнение |
Привод:
| П | привод |
| Р | ручной |
| БД | с блокировкой в двух положениях |
| 10 | номинальное напряжение, кВ |
| У2 | климатическое исполнение |
Технические параметры
| Наименование | Ед.измерения | Значение |
| Номинальное напряжение, Uном | кВ | 10 |
| Номинальное рабочее напряжение, Uнр | кВ | 12 |
| Номинальный ток, А | А | 400/630 |
| Номинальное начальное значение периодической составляющей сквозного тока короткого замыкания, Iнп | кА | 20 |
| Номинальный ток отключения | А | 400/630 |
|
Нормативные параметры сквозного тока короткого замыкания: |
||
| Наибольший пик тока (ток электродинамической стойкости) | кА | 51 |
| Начальное действующее значение периодической составляющей | кА | 20 |
| Среднеквадратичное значение тока за время его протекания (ток термической стойкости) | кА | 20 |
| Время протекания тока tкз | с | 1 |
|
Нормированные параметры тока включения: |
||
| Наибольший пик | кА | 51 |
| Начальное действующее значение периодической составляющей | кА | 20 |
| Коммутационная способность в нормальном эксплуатационном режиме |
Циклы ВКЛ/ОТКЛ |
10 |
| Сторона присоединения привода | -- |
Справа/слева |
Выключатели нагрузки ВНА-П/Л-10/400(630)-20з(п) У2 предназначены для включения и отключения под нагрузкой участков цепей переменного трехфазного тока частотой 50-60 Гц, номинальным напряжением 6(10) кВ, а также заземления отключенных участков при помощи заземлителей.
www.ketz52.com
Выключатели нагрузки ВНА
Выключатели ВНА применяются в шкафах комплектных распределительных устройств (КРУ), комплектных трансформаторных подстанций (КТП) внутренней установки и камерах стационарных одностороннего обслуживания (КСО). Выключатели нагрузки ВНА-П-10/630-20з(п) У2 предназначены для включения и отключения под нагрузкой участков цепей переменного трехфазного тока частотой 50-60 Гц, номинальным напряжением 6(10) кВ, а также заземления отключенных участков при помощи заземлителей. Расшифровка условного обозначения выключателя нагрузки ВНА: ВНА - выключатель нагрузки автогазовый Л - тип расположения привода: П - правое, Л - левое 10 - номинальное напряжение, кВ 630 - номинальный ток, А 20 - ток отключения короткого замыкания, кА з - количество ножей заземления: з - один нож заземления; 2з - два ножа заземления; п - наличие полурамы для крепления предохранителей; У2 - климатическое исполнение и категория размещения. Расположение приводов управления ВНА: Л - с левосторонним расположением всех приводов П - с правосторонним расположением всех приводов Лп - с левосторонним приводом главных ножей и правосторонним приводом ножей заземления Пл - с правосторонним приводом главных ножей и левосторонним приводом ножей заземления Лпл - с левосторонним приводом главных ножей, правосторонним приводом ножей заземления, находящихся со стороны подвижного контакта и левосторонним приводом второго вала заземления, находящегося со стороны неподвижно контакта Ллп - с левосторонним приводом главных ножей, левосторонним приводом ножей заземления, находящихся со стороны подвижного контакта и правосторонним приводом второго вала заземления, находящегося со стороны неподвижного контакта Плп - с правосторонним приводом главных ножей, левосторонним приводом ножей заземления, находящихся со стороны подвижного контакта и правосторонним приводом второго вала заземления, находящегося со стороны неподвижного контакта Ппл - с правосторонним приводом главных ножей, правосторонним приводом ножей заземления, находящихся со стороны подвижного контакта и левосторонним приводом второго вала заземления, находящегося со стороны неподвижного контакта Пр - продольного исполнения (привода справа) ; Лр - продольного исполнения (привода слева) Выключатель нагрузки ВНА изготавливается в следующих исполнениях: -без ножа заземления и без предохранителей; -с одним заземляющим ножом без предохранителей; -с двумя заземляющими ножами; -с одним заземляющим ножом c предохранителями; -с двумя заземляющими ножами c предохранителями.
Технические характеристики ВНА
Наименование параметра
Значение параметра
Номинальное напряжение, кВ 10 Наибольшее рабочее напряжение, кВ 12 Номинальный ток, А 630 Номинальный ток отключения при cos φ>=0,7, А 630
-Нормированные параметры сквозных токов короткого замыкания: наибольший пик(ток электродинамической стойкости), кА 51 номинальное начальное значение периодической составляющей, кА 20 время протекания тока (время короткого замыкания), с 1
-Нормированные параметры тока включения, кА: наибольший ток 51 начальноее действующее значение периодической составляющей 20 Активный ток, равный номинальному току отключения при cos φ>=0,7, А 630
ufo-stroy.ru
Выключатель нагрузки автогазовый ВНА
Выключатели ВНА применяются в шкафах комплектных распределительных устройств (КРУ), комплектных трансформаторных подстанций (КТП) внутренней установки и камерах стационарных одностороннего обслуживания (КСО).
Расшифровка условного обозначения выключателя нагрузки:
ВНА (П)(Л)-10/630(400)-20- X- Х ХХ
| В | Выключатель |
| Н | Нагрузки |
| А | Автогазовый |
| П | с правосторонним приводом ПРБД |
| Л | с левосторонним приводом ПРБД |
| 10 | Номинальное напряжение: кВ |
| 630 | Номинальный ток: 400, 630 А |
| 20 | Номинальная периодическая составляющая сквозного тока; кА |
| Iз | заземляющие ножи со стороны разъемных контактов; |
| IIз | заземляющие ножи со стороны шарнирных контактов; |
| IIIз | заземляющие ножи с двух cторон; |
| Пт(..) | со встроенными контактами для патронов типа: ПТ1.1; ПТ1.2; ПТ.1.3; ПКТ-VK; |
| - | при отсутствии встроенных элементов обозначение не ставится; |
| У2 | климатичесое исполнение |
Привод:
| П | привод |
| Р | ручной |
| БД | с блокировкой в двух положениях |
| 10 | номинальное напряжение, кВ |
| У2 | климатическое исполнение |
Технические параметры
| Наименование | Ед.измерения | Значение |
| Номинальное напряжение, Uном | кВ | 10 |
| Номинальное рабочее напряжение, Uнр | кВ | 12 |
| Номинальный ток, А | А | 400/630 |
| Номинальное начальное значение периодической составляющей сквозного тока короткого замыкания, Iнп | кА | 20 |
| Номинальный ток отключения | А | 400/630 |
|
Нормативные параметры сквозного тока короткого замыкания: |
||
| Наибольший пик тока (ток электродинамической стойкости) | кА | 51 |
| Начальное действующее значение периодической составляющей | кА | 20 |
| Среднеквадратичное значение тока за время его протекания (ток термической стойкости) | кА | 20 |
| Время протекания тока tкз | с | 1 |
|
Нормированные параметры тока включения: |
||
| Наибольший пик | кА | 51 |
| Начальное действующее значение периодической составляющей | кА | 20 |
| Коммутационная способность в нормальном эксплуатационном режиме |
Циклы ВКЛ/ОТКЛ |
10 |
| Сторона присоединения привода | -- |
Справа/слева |
Выключатели нагрузки ВНА-П/Л-10/400(630)-20з(п) У2 предназначены для включения и отключения под нагрузкой участков цепей переменного трехфазного тока частотой 50-60 Гц, номинальным напряжением 6(10) кВ, а также заземления отключенных участков при помощи заземлителей.
www.ketz52.com
Выключатели нагрузки ВНА | ВЭК "Электропривод"
Выключатели нагрузки ВНА автогазовые с пружинным приводом. На выключатели ВНА устанавливаются высоковольтные предохранители ПТ 1.3 или ПЭ 1.3 на токи 50, 63, 80, 100, 160 А.
Расшифровка условного обозначения выключателя нагрузки ВНА-Л-10/630-20зп У2: ВНА — выключатель нагрузки автогазовый Л — тип расположения привода: П — правое, Л — левое 10 — номинальное напряжение, кВ 400 — номинальный ток, А 20 — ток отключения короткого замыкания, кА з — количество ножей заземления: з — один нож заземления; 2з — два ножа заземления; п — наличие полурамы для крепления предохранителей; У2 — климатическое исполнение и категория размещения;
Выключатели нагрузки ВНА
- Выключатель нагрузки ВНА-Л-10/630-20 У2 (Самара)
- Выключатель нагрузки ВНА-Л-10/630-20з У2 (Самара)
- Выключатель нагрузки ВНА-Л-10/630-20зп У2 (Самара)
- Выключатель нагрузки ВНА-П-10/630-20 У2 (Самара)
- Выключатель нагрузки ВНА-П-10/630-20з У2 (Самара)
- Выключатель нагрузки ВНА-П-10/630-20зп У2 (Самара)
- Выключатель нагрузки ВНА-П-10/630-20зп СВ У2 (Самара)
- Выключатель нагрузки ВНА-Л-10/630-20зп СВ У2 (Самара)
- Выключатель нагрузки ВНА-П-10/630-20-Ззп У2 (Самара)
- Выключатель нагрузки ВНА-Л-10/630-20-Ззп У2 (Самара)
- Выключатель нагрузки ВНА-Л-10/630-20 У2
- Выключатель нагрузки ВНА-Л-10/630-20з У2
- Выключатель нагрузки ВНА-Л-10/630-20зп У2
- Выключатель нагрузки ВНА-П-10/630-20 У2
- Выключатель нагрузки ВНА-П-10/630-20з У2
- Выключатель нагрузки ВНА-П-10/630-20зп У2
vec36.ru
Выключатели нагрузки автогазовые ВНА, ВНР
Выключатель нагрузки — коммутационный аппарат среднего напряжения (6-10 кВ), предназначенный для коммутации электрических цепей под нагрузкой.
Выключатели нагрузки применяются в комплектных трансформаторных подстанциях (КТП) и шкафах комплектных распределительных устройств (КРУ), в том числе, в камерах сборных одностороннего обслуживания (ячейках КСО).
Выключатели нагрузки допускают коммутацию номинального тока, но не рассчитаны на отключение токов короткого замыкания. Отключение цепи при коротком замыкании осуществляется предохранителями, которые включаются последовательно с выключателем нагрузки.
По уровню допускаемых коммутационных токов выключатели нагрузки занимают промежуточное положение между разъединителями, для которых коммутации под нагрузкой запрещены (как исключение допускается включение на холостой ход линий трансформаторов) и выключателями (вакуумными, воздушными, электромагнитными, элегазовыми), которые способны отключать без повреждения как номинальные нагрузочные токи, так и токи при аварийных режимах.
В качестве дугогасящего элемента в выключателях нагрузки выступает дугогасительная камера из полиметилметакрилата в полиамидном корпусе. При размыкании контактов возникающая при этом электрическая дуга воздействует на материал дугогасительной камеры. Выделяющиеся при этом газы создают условия для успешного гашения дуги. Скорость отключения выключателя составляет 0,2-0,3 с.
Выключатели нагрузки ВНА и ВНР имеют конструктивные различия. Оба вида выключателей включаются и отключаются при помощи ручных приводов и мускульной силы оператора, но скорость включения и отключения выключателя ВНА не зависит от скорости оперирования приводом, а включение выключателя ВНР зависит от скорости работы оператора.
Скачать техническое описание выключателя нагрузки ВНАВыбрать выключатель нагрузки...
Выключатели нагрузки серии ВНА
Выключатель нагрузки автогазовый (ВНА) предназначен для коммутации под нагрузкой цепей трехфазного тока 630А частотой 50 Гц напряжением 6 или 10 кВ в камерах сборных одностороннего обслуживания (КСО), в шкафах комплектных распределительных устройств (КРУ) и в комплектных трансформаторных подстанциях (КТП). В качестве дугогасящего элемента служит дугогасительная камера из полиметилметакрилата в полиамидном корпусе.
Условия эксплуатации:
- высота установки над уровнем моря не более 1000 м;
- температура окружающего воздуха от минус 45° С до плюс 40° С;
- окружающая среда невзрывоопасная, не содержащая агрессивных газов и паров, а также производственной пыли в количествах, нарушающих работу выключателя;
- рабочее положение в пространстве - установка на вертикальной плоскости. Допускается отклонение от вертикального положения 5° в любую сторону учитывая, что подвижные контакты должны откидываться вниз.
Условное обозначение выключателя нагрузки ВНА
ВНА-П(Л)-I(II)(III)-10/630-20з(зп) УХЛ2
- В - выключатель;
- Н - нагрузки;
- А - автогазовый;
- П, Л - правосторонний (левосторонний) привод;
- I, II, III - расположение заземляющих ножей сверху, снизу, с двух сторон;
- 10 - номинальное напряжение, кВ;
- 630 - номинальный ток, А;
- 20 - предельный сквозной ток, кА;
- з, зп - с заземляющими ножами, с заземляющими ножами и предохранителями;
- УХЛ2 - климатическое исполнение и категория размещения.
Конструкция и принцип действия
Выключатель нагрузки ВНА состоит из рамы, вала управления подвижными токоведущими контактами и вала управления заземляющими ножами. На трех нижних изоляторах шарнирно закреплены подвижные токоведущие контакты совместно с подвижными дугогасительными контактами. На трех верхних изоляторах закреплены неподвижные токоведущие контакты, неподвижные дугогасительные контакты и дугогасительная камера. Движение от рычагов вала к подвижным контактам передаются при помощи тяговых изоляторов из стеклонаполненного полиамида.
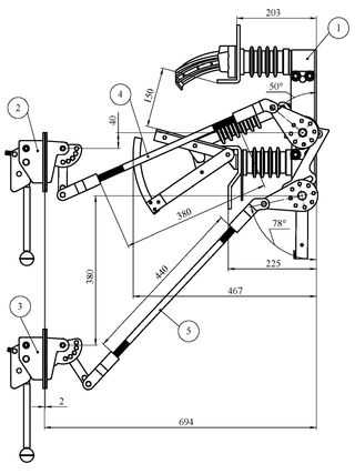
Установка выключателя ВНА-П-10/630-II-20з УХЛ2 в камере КСО-393
1 - выключатель нагрузки, 2 - привод ПР-10 главных ножей, 3 - привод ПР-10 заземляющих ножей, 4 - тяга главных ножей, 5 - тяга за заземляющих ножей
Для отключения выключателя установлены две пружины: отключающая и депфирующая, также для смягчения ударов при отключении установлен резиновый буфер.
Дугогасительные камеры из полиметилметакрилата предназначены для гашении электрической дуги при размыкании дугогасительных контактов, потоком газа образующегося в результате воздействия высокой температуры на газогенерирующий материал камеры. При включении выключателя сначала замыкаются главные контакты, а затем дугогасительные, при отключении сначала размыкаются главные контакты а затем дугогасительные.
Работа выключателя осуществляется при помощи пружинного механизма.
В конструкции выключателя предусмотрена блокировка которая обеспечивает:
- Невозможность включения выключателя при включенных заземляющих ножах.
- Невозможность включения заземляющих ножей при включенном положении выключателя.
Включение и отключение выключателя осуществляется при помощи ручного привода типа ПР-10. Привод соединяется с валом пружинного механизма включения при помощи тяги (в комплект поставки не входит). Включение осуществляется при передаче поступательного движения от привода ПР-10 через тягу на вал пружинного механизма, при этом происходит сжатие включающей пружины включающего механизма, переход ее через мертвую точку и последующее включение главного вала выключателя. Отключение происходит аналогичным образом.
Выключатель типа ВНА с заземляющими ножами и предохранителями дополнительно имеет отдельную полураму заземлителя и смонтированные на изоляторах контакты типа КО для установки патронов предохранителей серии ПТ. Заземлитель и выключатель соединяются между собой блокировкой.
Технические характеристики выключателей нагрузки ВНА
| Параметр | Значение |
| Номинальное напряжение, кВ | 10 |
| Наибольшее рабочее напряжение, кВ | 12 |
| Номинальный ток, А | 630 |
| Номинальный ток отключения при rкоэффициенте мощности более 0,7, А | 630 |
| Номинальный ток термической стойкости, кА | 20 |
| Номинальный ток электродинамической стойкости, кА | 51 |
| Время протекания тока короткого замыкания, с | 1 |
| Время отключения, не более, с | 0,2 |
| Собственное время включения, не более, с | 0,2 |
| Масса, кг | 38 |
Выбрать выключатель нагрузки ВНА...
Выключатели нагрузки ВНР
Выключатель нагрузки с ручным приводом (ВНР) предназначен для коммутации под нагрузкой цепей трехфазного тока 630 А частотой 50 Гц напряжением 6 или 10 кВ в камерах сборных одностороннего обслуживания (КСО), в шкафах комплектных распределительных устройств (КРУ) и в комплектных трансформаторных подстанциях (КТП). В качестве дугогасящего элемента служит дугогасительная камера из полиметилметакрилата в полиамидном корпусе.
Условия эксплуатации:
- высота установки над уровнем моря не более 1000 м;
- температура окружающего воздуха от минус 45° С до плюс 40° С;
- окружающая среда невзрывоопасная, не содержащая агрессивных газов и паров, а также производственной пыли в количествах, нарушающих работу выключателя;
- рабочее положение в пространстве - установка на вертикальной плоскости. Допускается отклонение от вертикального положения 5° в любую сторону учитывая, что подвижные контакты должны откидываться вниз.
Условное обозначение выключателя нагрузки ВНР
ВНРз(пз)-I(II)(III)-10/630 УХЛ2
- В – выключатель;
- Н – нагрузки;
- Р – с ручным приводом;
- з, пз – наличие заземляющих ножей, предохранителей и заземляющих ножей;
- I, II, III – расположение заземляющих ножей сверху, снизу, с двух сторон;
- 10 – номинальное напряжение, кВ;
- 630 – номинальный ток, А;
- УХЛ2 – климатическое исполнение и категория размещения.
Технические характеристики выключателей нагрузки ВНР
| Параметр | Значение |
| Номинальное напряжение, кв | 10 |
| Наибольшее рабочее напряжение, кВ | 12 |
| Номинальный ток, А | 630 |
| Номинальный ток отключения при коэффициенте мощности более 0,7, А | 630 |
| Номинальный ток термической стойкости, кА | 20 |
| Номинальный ток электродинамической стойкости, кА | 51 |
| Время протекания тока короткого замыкания, с | 1 |
| Время отключения, не более, | 0,2 |
| Масса, кг | 42 |
Выбрать выключатель нагрузки ВНР...
tmnrg.ru
10 - Кореневский завод низковольтной аппаратуры
Опросный лист
Предназначен для включения и отключения под нагрузкой участков электрической цепи переменного трёхфазного тока 400 А и 630 А частотой 50-60 гЦ, номинальным напряжением до 10 кВ.
Общая информация Габаритные размеры Сертификаты Дополнительная информация| Наименование | Артикул | Масса, кг | Размер упаковки, мм | Объём упаковки, м3 | Кратность упаковки, шт | |
| Нетто | Брутто | |||||
| ВНАП-10/400-20-IIзУ2 | 004990400007 | 35 | 44,5 | 726х625х460 | 0,2 | 1 |
| ВНАП-10/630-20-IIзУ2 | 004990630012 | |||||
| ВНАЛ-10/400-20-IIзУ2 | 004990400008 | |||||
| ВНАЛ-10/630-20-IIзУ2 | 004990630014 | |||||
| Наименование | Единицы измерения | Значение |
| Номинальное напряжение, Uном | кВ | 10 |
| Номинальное рабочее напряжение, Uнр | кВ | 12 |
| Номинальный ток, А | A | 400/630 |
| Номинальное начальное значение периодической составляющей сквозного тока короткого замыкания, Iнп | кА | 20 |
| Номинальный ток отключения | А | 400/630 |
| Нормативные параметры сквозного тока короткого замыкания: | ||
| Наибольший пик тока (ток электродинамической стойкости) | кА | 51 |
| Начальное действующее значение периодической составляющей | кА | 20 |
| Среднеквадратичное значение тока за время его протекания (ток термической стойкости) | кА | 20 |
| Время протекания тока tкз | с | 1 |
| Нормированные параметры тока включения: | ||
| Наибольший пик | кА | 51 |
| Начальное действующее значение периодической составляющей | кА | 20 |
| Коммутационная способность в нормальном эксплуатационном режиме | Циклы Вкл/Откл | 10 |
| Сторона присоединения привода | - | Справа/слева |
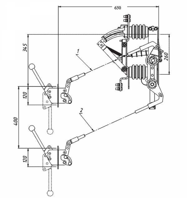
Выключатель нагрузки автогазовый ВНАЛ-10/630-20-IIз У2
Возможный вариант монтажа с приводом ПРБД-10.
Промежуточные тяги 1 и 2 в комплект поставки привода не входят
www.nva-korenevo.ru
Выключатели нагрузки ВНА
Предлагаем Вашему вниманию выключатели нагрузки ВНА изготовленные из высококачественных комплектующих, сертифицированные и полностью соответствующие Российским стандартам.
Мы установили разумные цены на выключатели нагрузки ВНА, исходя из соблюдения высочайшего качества и потребностей рынка.
Так например цена на выключатель нагрузки ВНА-П-10/630-20з У2 – всего 15200 руб с НДС.
Уже при заказе нескольких выключателей нагрузки мы готовы предоставить Вам более выгодные условия поставки!
Звоните прямо сейчас! Мы договоримся на лучших для Вас условиях!
Наш многоканальный телефон (495) 649-67-18
Вот перечень поставляемых нами выключателей нагрузки:
| Выключатели нагрузки с заземляющим ножом | |
| Выключатель нагрузки ВНА-П-10/630-20з У2 с правым приводом | |
| Выключатель нагрузки ВНА-П-10/630-20з У2 с левым приводом | |
| Выключатели нагрузки с заземляющим ножом и предохранителями | |
| Выключатель нагрузки ВНА-П-10/630-20зп У2 с правым приводом | |
| Выключатель нагрузки ВНА-П-10/630-20зп У2 с левым приводом |
Выключатели нагрузки мы поставим Вам в минимальные сроки!
Наша компания осуществляет бесплатную доставку выключателей нагрузки ВНА по Москве, бесплатную доставку до терминалов транспортных компаний Автотрейдинг, Деловые линии, ПЭК, Желдорэкспедиция, КИТ при заказе 3 и более выключателей.
Расшифровка условного обозначения выключателя нагрузки ВНА на примере ВНА-Л-10/630-20зп У2:
ВНА - выключатель нагрузки автогазовый Л - тип расположения привода: П - правое, Л - левое 10 - номинальное напряжение, кВ 400 - номинальный ток, А 20 - ток отключения короткого замыкания, кА з - количество ножей заземления: з - один нож заземления; 2з - два ножа заземления; п - наличие полурамы для крепления предохранителей; У2 - климатическое исполнение и категория размещения;
Габаритные размеры и чертеж выключателя нагрузки ВНА-Л-10/630-20з У2
Привод выключателя нагрузки ВНА-Л-10/630-20з У2
Упаковка выключателя нагрузки ВНА-Л-10/630-20з У2
По всем вопросам связанным с приобретением выключателей нагрузки ВНА обращайтесь к нашим менеджерам по телефону (495) 649-6718.
Звоните прямо сейчас! Мы всегда рады Вам помочь выбрать выключатель нагрузки, обсудить выгодную для Вас цену и договориться о способах скорейшего получения Вами выключателей нагрузки ВНА.
vikluchately.ru











